批量上传产品和批量下载产品是一个非常重要的功能。今天,摩登7超市收银系统就和大家一起聊聊,如果批量上传或批量下载门店产品,帮助各位零售门店解决商品管理过程中批量上传和批量下载的问题。
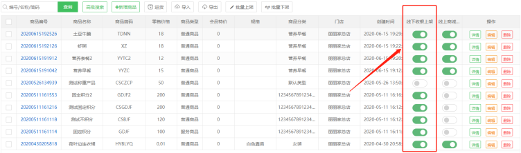
线下收银系统批量上架
线下收银上架后,线下收银端(PC端、安卓收银端、APP)是可以正常消费该商品的。

注意:如果挂单消费单据中有该商品,是不能进行下架操作的。


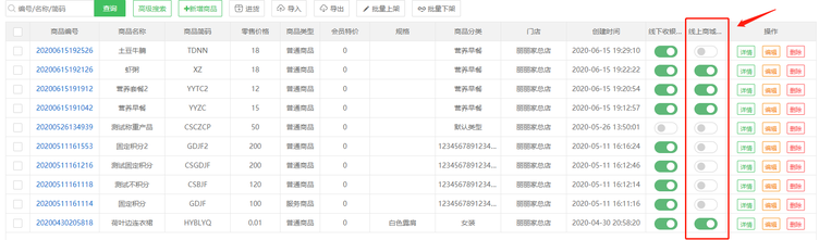
线上商城上架
线上收银上架后,线上订单(微信商城、小程序商城)即可以正常消费该商品,下架后,则线上订单提交不成功。

本文由摩登7收银系统编写,转载联系作者并注明出处:http://help.nakesoft.com/foundation/28.html
