收银系统如何批量导入商品

时间:2022-07-26 10:30来源:摩登7官网作者:摩登7收银系统点击:

  批量上传产品和批量下载产品是一个非常重要的功能。今天,摩登7超市收银系统就和大家一起聊聊,如果批量上传或批量下载门店产品,帮助各位零售门店解决商品管理过程中批量上传和批量下载的问题。

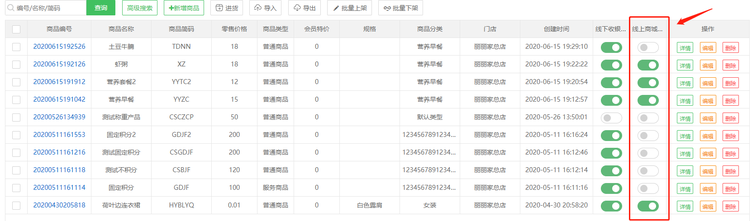
  线下收银系统批量上架

  线下收银上架后,线下收银端(PC端、安卓收银端、APP)是可以正常消费该商品的。

批量上下架1

  注意:如果挂单消费单据中有该商品,是不能进行下架操作的。

批量上下架2

批量上下架3

  线上商城上架

 

  线上收银上架后,线上订单(微信商城、小程序商城)即可以正常消费该商品,下架后,则线上订单提交不成功。

批量上下架4

领取免费试用账号

点击领取

专业定制各行业软件 已有500+客户选择摩登7科技

12年软件开发经验,实力强,周期短,上线快,质量保障,性价比高
免费咨询

版本更新|渠道合作|服务协议|网站地图

2010-2024 © Copyright. Naxin Network - All Rights Reserved

摩登7注册网络科技有限公司版权所有